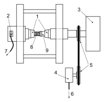
牙种植体抗扭性能测试仪
主要参数

型号:SRT-Z029A
价格:电议
品牌:赛锐特
全国热线:13023169219
详细介绍
牙科扭转强力测试仪、牙科扭转测试仪、牙种植体抗扭性能测试仪
 
一、产品介绍以及特点
牙科扭转强力测试仪是一种用于检测钛及钛合金材料制成的不带表面涂层的牙种植体抗扭性能的设备,确保其在临床使用中具备足够的结构强度和稳定性。
该仪器广泛应用于医疗器械生产企业、检测机构和科研单位,通过模拟种植体在口腔内受到的扭转力,评估其在极限条件下的抗扭能力,防止因种植体断裂导致的手术失败或患者损伤。
 
产品特点;
优点 | 集成化操作系统,触摸屏按键设置,一键启动,自动监测,测试结束自动生成结果,测试稳定,数据安全可靠 |
核心竞争力 | 操作简单方便,设备故障率低,使用国内或进口检测元件,整机操作顺畅,误差小,使用年限长 |
数据显示 | 1、实时显示实时扭矩、旋转角度等。 2、内置大容量存储器,可存储不少于1000组测试数据数据一般保留7天会被覆盖 3、配备USB接口,可导出测试数据;可选配RS232接口连接电脑打印机 |
结构特点 | 通电通气就可以使用,简单快捷 |
 
二、满足标准
标准号 | 名称 |
YY 0315-2023 | 钛及钛合金牙种植体 |
ISO/TS 13498  | 牙科-牙科种植体系统植入体/连接部件关节的扭转测试 |
 
三、关键参数
参数项 | 规格 |
控制系统 | 工业级PLC |
操作界面 | 彩色7寸触摸屏,支持中英文菜单切换 |
测试项目 | 抗扭性能,紧固性能 |
扭矩传感器 | 采用高精度扭矩传感器0-5N.m,精度:±0.01N.m,旋转角度0-360°检测精度高、稳定性好、抗干扰性强仪器触摸屏显示Nm |
抗扭测试扭力范围 | 0-5N.m,精度:±0.01N.m-内外连接 |
旋转角度 | 0-360° |
电源 | 220V,50Hz |
设备重量 | 31.6kg |
外形尺寸 | 550*400*530(mm) |
自锁夹具 | 棘轮全金属自锁【0.8-10】[3/8螺纹接口] |
自制软件,实时监测,可USB导出结果,可连接电脑 | |
 
四、计量要求以及测试项介绍
标准号 | 建议计量内容 | 建议计量点 |
YY 0315-2023 | 扭矩传感器:0-5N.m,精度:±0.01N.m | 标准中测量精度至少为0.01N·m,没有提及量程,可根据自身需求计量。 |
测试项 | ||
YY 0315-2023 | 6.6.1 抗扭性能   6.6.2紧固性能 | |
 
五、设备特点
1.精密减速机,传动稳、噪音小 |
2.核心传动机构选用进口精密导轨 |
3.仪器配有水平检测装置 |
4.仪器外观颜值高,美观大方、便于清洁 |
5.夹具是由304不锈钢制作抛光镜面处理,经久耐用 |
6.此测试项目为破坏性测试,若遇到打滑现象,可将样品打磨成三角口 |
六、测试流程
样品制备 |
种植体按临床规范组装基台,固定于仿骨模块如PMMA树脂,确保无安装间隙。 |
每组试样≥5个,避免单点数据偏差。 |
测试模式选择 |
静态破坏测试:以1 r/min匀速加载至断裂,记录扭矩及刚度。 |
动态疲劳测试:设定扭矩范围循环加载,监测5000次后的性能衰减。 |
结果判定 |
失效标准:扭矩衰减>15%或出现可见变形/断裂。 |
数据输出:软件自动计算均值、变异系数及失效形式分析报告。 |
 
七、满足标准其他测试项的仪器完整资料可咨询销售
标准号以及测试项 | 仪器名称 | 图片 |
YY 0315-2023 附录A | 牙科学金属材料腐蚀试验机 |
|
 
八、标配物品以及用途
名称 | 数量 | 用途 | 参考图 |
主机 | 1台 | 设备整机发货,无需安装 |
|
电源线 | 1根 | 设备连接插座使用 | / |
说明书 | 1份 | 介绍设备使用方法以及保养等注意事项 | / |
操作视频电子版 | 1份 | 手把手指导操作流程,学更方便 | / |
合格证及保修卡 | 1份 | 出厂质检,质保服务 | / |
铭牌 | 1个 | 记录设备整体信息 | / |
九、应用场景与行业需求
使用单位 | 产品性能 |
医疗器械研发 | 出厂前的性能验证,确保符合标准 |
生产质量控制 | 用于产品,提供合规报告 |
科研与教学 | 用于产品升级,满足医疗行业对产品的需求 |
 
十、使用注意事项
环境要求 | 建议测试在恒定环境中进行,试件需提前状态调节≥1小时 |
校准维护 | 定期校验扭矩传感器,避免数据漂移 |
预处理 | 保持试样整洁干净,无缺陷 |
 
十一、质保售后
安装调试 | 公司可在买方准备好设备需外部条件(如水,电等)后,负责该设备的安装、调试、启动工作,并提供良好的技术支持和售后服务,同时对使用人员进行培训,保证受训人员能够独立、熟练操作设备和完成简单的维修工作、设备日常维护等工作。 |
保修 | 设备保修期为1年,易耗品、天灾人员为损坏除外,保修期内,卖方负责该设备由于设备自身原因而引起的各种故障问题并负责无偿解决。在保修期外,该设备的维修工作要收取备品备件的成本费用和一定的服务费用。 |
维修反应时间 | 卖方在接到买方的故障通知后,保证在2小时内做出响应,并争取在短的时间内尽快排除故障 |
终身服务 | 卖方在该设备的使用期间,可无偿、无限期地提供该设备的技术支持工作。 |
 




当前位置:






