口腔灯阴影测试工装
口腔灯阴影测试工装
主要参数

型号:SRT-Z533
价格:电议
品牌:赛锐特
全国热线:13023169219
详细介绍
口腔灯阴影测试工装
 
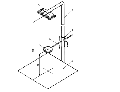
执行标准:
YY/T 1120-2021中7.3.8
 
技术参数
圆盘直径:φ 20mm 厚:1mm
距离测量屏:50mm                                               
测量屏:带直角坐标系                    
光源距屏:700mm     
工装包含柱、调节用滑动环、测试屏、杆
 
配置清单
工装一套,
合格证一份,
铭牌一份。




当前位置:




