2024-11
21
山东赛锐特公司赴广东省医疗器械质量监督检验所提供专业服务
近日,山东赛锐特公司派遣专业团队前往广东省医疗器械质量监督检验所,为其提供的多款高端测试仪器进行售后维护和技术支持。此次售后的仪器包括输卵管导管头端抗弯曲性能测试仪、呼吸过滤器评价过滤性能盐性测试仪以及输尿管性能测试仪,这些设备在医疗器械的质量监督与检测中发挥着至关重要的作用。 输卵管导管···
查看详细 +
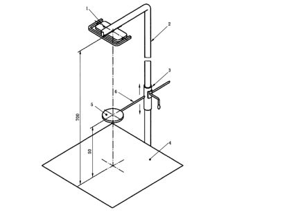
口腔灯阴影测试工装
执行标准:
YY/T 1120-2021中7.3.8
技术参数;
圆盘直径:φ 20mm (厚:1mm)
距离测量屏:50mm
测量屏:带直角坐标系
光源距屏:700mm
工装包含柱、调节用滑动环、测试屏、杆
配置清单
工装一套,
合格证一份,
铭牌一份。
