2024-11
21
山东赛锐特公司赴广东省医疗器械质量监督检验所提供专业服务
近日,山东赛锐特公司派遣专业团队前往广东省医疗器械质量监督检验所,为其提供的多款高端测试仪器进行售后维护和技术支持。此次售后的仪器包括输卵管导管头端抗弯曲性能测试仪、呼吸过滤器评价过滤性能盐性测试仪以及输尿管性能测试仪,这些设备在医疗器械的质量监督与检测中发挥着至关重要的作用。 输卵管导管···
查看详细 +
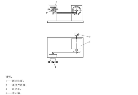
牙间刷主干耐疲劳测试仪
概述:
牙间刷主干耐疲劳测试仪用于手动牙间刷主干疲劳测试。
执行标准:
GB/T 36992-2019《手动牙间刷》6.5.2 主干耐疲劳度测试
BS EN IS0 16409:2006+A1:2010
技术参数:
控制系统:PLC;
操作界面:彩色7寸触摸屏,中英文切换;
实验砝码:500士0.5g
实验速度:(30士3)次/min
摆动角度:左右(45士3)°
折曲次数:1~9999次(可设定)
基本配置:
主机一台,扳手一套,电源线一根,说明书/保修卡/合格证/铭牌一套
设备结构原理:
